
? 煤粉混合器?是布置在燃煤鍋爐煤粉管道上的設備,主要用于中間倉儲式燃煤鍋爐輸煤系統。它的主要功能是保證煤粉自給粉機下的落粉管均勻、連續地落入一次風管,從而形成氣、粉混合物。煤粉混合器的設計旨在達到合理的流動特征,確保流速達到一定要求,以實現煤粉和空氣的良好混合,同時控制管道磨損在一定的范圍內。
煤粉混合器有多種形式,其中?全負壓煤粉混合器?是其中的一種形式,它在原雙層托板形式上改進為單托板,并在落粉管與混合器聯接處的后壁加一塊弧形鋼板插入煤粉混合器內部一定深度,這樣的設計使得流經的一次風對落粉管產生引流作用,徹底消除了托粉現象。
此外,還有?耐磨煤粉混合器?,它同樣應用于中間倉儲式燃煤鍋爐輸煤系統,強調其耐磨特性,確保長期穩定運行。
?1.保證煤粉自給粉機下的落粉管均勻、連續地落入一次風管而形成氣、粉混合物?,這是煤粉混合器的主要功能,確保煤粉和空氣混合良好,形成均勻的氣粉混合物,以提高燃燒效率。
2.?合理的流動特征?,即流速達到一定的要求,使煤粉和空氣混合良好,并使管道的磨損控制在一定范圍之內。
3.?結構簡單、維修量低、壽命長和安裝方便?,這些特點使得煤粉混合器在實際應用中易于維護和管理,降低了運營成本。
?4.耐磨部件及處理?,內部采用耐磨部件及處理,使得噴煤達到長期穩定的效果。
?5.電子式電動執行器?,可以根據工況精確調整,實現遠程自動控制。

1?.保證煤粉的均勻供給?:煤粉混合器的首要任務是確保煤粉能夠均勻、穩定地供給,這是通過合適的煤粉供給設備實現的,以保證燃燒效果和質量。
?2.空氣混合?:空氣混合是實現煤粉充分燃燒的關鍵環節。在煤粉混合器中,空氣通過特定的通道與煤粉混合,形成可燃的混合物。合理的空氣混合比例能夠確保煤粉燃燒充分,提高熱能利用效率。
?3.流速控制?:通過控制流速達到一定的要求,使煤粉和空氣能夠良好地混合,同時控制管道的磨損在一定的范圍內,保證設備的安全和效率。


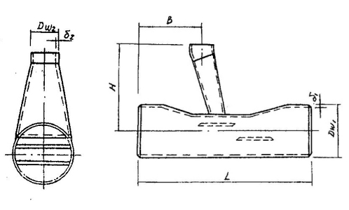
| 標號 | 公稱通徑Dg | DW1 X δ1 | DW2 X δ2 | L | B | H |
| 毫米 | ||||||
| DD2701 | 200 | 219*8 | 108*4 | 715 | 158 | 368.5 |
| DD2702 | 250 | 273*9 | 108*4 | 845 | 193 | 386.5 |
| DD2703 | 300 | 325*10 | 133*4 | 966 | 200 | 481.5 |
| DD2704 | 350 | 377*10 | 159*4.5 | 1095 | 240 | 523.5 |
| DD2705 | 400 | 426*10 | 159*4.5 | 1220 | 257 | 573.5 |
| DD2706 | 450 | 480*10 | 159*4.5 | 1350 | 270 | 641.5 |